瑞财经 李兰8月2日,据中国证券报,智元机器人已于近日完成新一轮战略融资,该轮投资由LG电子、未来资产集团联合投资。同时,此次投资为LG电子在具身智能领域的首次投资布局。

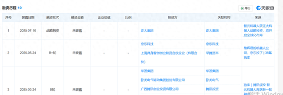
天眼查信息显示,截至目前,智元机器人已完成10轮融资,此前获得腾讯、京东、比亚迪、上汽、北汽、TCL等多家产业资本投资。
天眼查显示,智元创新(上海)科技有限公司成立于2023年2月,注册资本8263.67万元,法定代表人邓泰华。其实控人为邓泰华,拥有30.69%表决权。
智元机器人成立于2023年2月,联合创始团队由具有丰富产业经验的全球知名企业核心高管、人工智能领域科学家等多位业内资深人士共同组成。
智元机器人构建了领先的机器人“本体+AI”全栈技术,拥有远征、精灵、灵犀三大机器人家族,产品覆盖多种商用场景。2025年1月,智元机器人的第1000台通用具身机器人正式量产下线,刷新行业记录。
本文来自作者[ybkkj号]投稿,不代表ybkkj号 - 深度新闻解读、社会动态、热门事件追踪立场,如若转载,请注明出处:https://m.ybkkj.com.cn/ybfx/202508-568.html
评论列表(4条)
我是ybkkj号 - 深度新闻解读、社会动态、热门事件追踪的签约作者“ybkkj号”!
希望本篇文章《智元机器人获新一轮融资,实控人邓泰华拥有30.7%表决权》能对你有所帮助!
本站[ybkkj号 - 深度新闻解读、社会动态、热门事件追踪]内容主要涵盖:ybkkj号,生活百科,小常识,生活小窍门,百科大全,经验网
本文概览: 瑞财经李兰8月2日,据中国证券报,智元机器人已于近日完成新一轮战略融资,该轮投资由LG电子、未来资产集团联合投资。同时,此次投资为...